Ștuțul de îmbinare este un tip de fitinguri BSPP 60 cu sudură conică, dimensiunile filetului bsp și piciorușul cu pivot de 60 cone cu inel de etanșare este conform standardului ISO 8434 6. Se utilizează în tubulatura hidraulică și în tubulatură.

Wip-on (WDNP) BSP
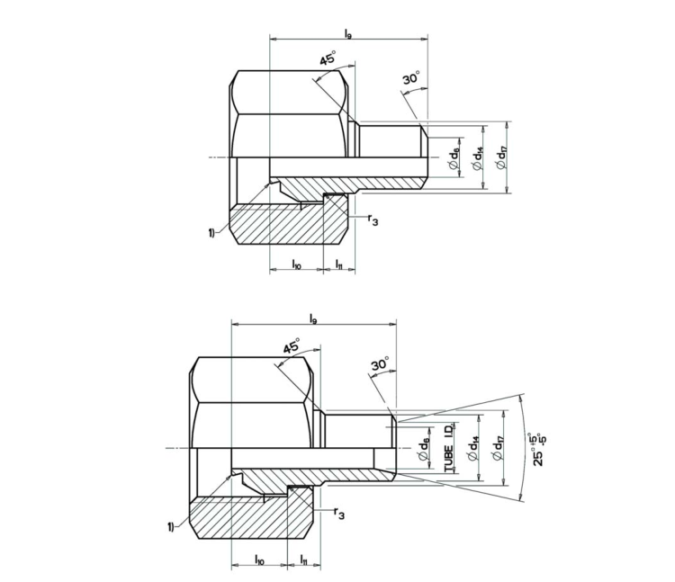
NOTA 1 Pentru șurubul de tip A, introduceți inelul O după sudare.
NOTA 2 Diametrul d 14 este diametrul exterior al tubului selectat
Dimensiuni ale niplurilor de sudură (WDNP)

Dimensiuni în milimetri
d 14 d 17 l 9 l 10 l 11 r 3 Dimensiune furtun Tub OD ± 0,1 ± 0,1 ± 0,3 ± 0,1 ± 0,5 ± 0,1
G 1/8 A 6 6 6,7 27 4,9 3,5 0,2
G 1/4 A 8 8 9,2 30 6,8 4,6 0,2
G 3/8 A 10 10 12,3 31 7,1 4,6 0,2
G 1/2 A 12 12 15,9 32 8,6 5,1 0,2
G 5/8 A 16 16 18,0 35 7,4 5,5 0,25
G 3/4 A 20 20 21,5 40 8,4 5,8 0,25
G 1 A 25 25 27,8 45 9,9 5,8 0,25
G 1 ¼ A 32 32 36,2 48 11,3 5,8 0,4
G 1 ½ A 38 38 41,8 59 16,8 5,8 0,4
G 2 A 50 50 53,6 59 16,8 6,0 0,4






